缝纫客维修问答
工业缝纫机维修,机修工问答
缝纫客APP
(安卓)

  找回密码
 立即注册
扫二维码加客服微信 缝纫客(缝纫客QQ群:754889794)
查看: 9903|回复: 10
打印 上一主题 下一主题

[求购] 981A-00加面线剪

[复制链接]
跳转到指定楼层
楼主
发表于 2014-8-22 08:23:47 | 只看该作者 |只看大图 回帖奖励 |倒序浏览 |阅读模式
本帖最后由 YINNANSHIYONG 于 2014-8-22 11:23 编辑

谁家有981A-01面线剪全套

回复

使用道具 举报

2#
发表于 2014-8-22 10:54:27 | 只看该作者
本帖最后由 hcq430 于 2014-8-22 11:10 编辑

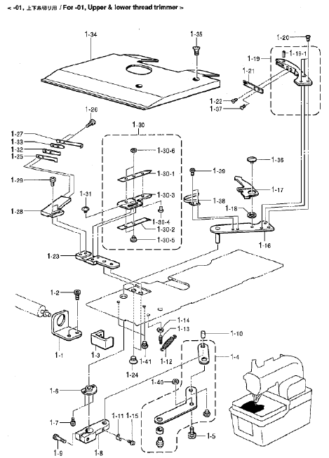
表达错误?剪面线每个型号都有的,面线不用刀也可以断的。00没有剪底线、芯线,01有剪底线、芯线。
弯针附近那把刀是剪面线的,装压脚板上面的刀是剪底线跟芯线

下面整套换

981-01.png (63.28 KB, 下载次数: 2261)

981-01.png
回复 支持 反对

使用道具 举报

3#
 楼主| 发表于 2014-8-22 11:24:35 | 只看该作者
就是你发的图所有的零件

点评

嗯,图上这点东西还不够,压脚及板,还要有气缸和传感器,都得要,还缺弯针座那的松底线装置,没点经验也装不上。国产的这套用不住。小日本的好用,但很贵。  详情 回复 发表于 2014-8-25 22:18
回复 支持 反对

使用道具 举报

4#
 楼主| 发表于 2014-8-23 15:56:19 | 只看该作者
师傅们有没有知道的啊  谢谢了
回复 支持 反对

使用道具 举报

5#
发表于 2014-8-23 16:37:33 | 只看该作者
这个要订
回复 支持 反对

使用道具 举报

6#
发表于 2014-8-23 17:41:43 | 只看该作者
现货没有
回复 支持 反对

使用道具 举报

7#
发表于 2014-8-25 22:18:44 | 只看该作者
YINNANSHIYONG 发表于 2014-8-22 11:24
就是你发的图所有的零件

嗯,图上这点东西还不够,压脚及板,还要有气缸和传感器,都得要,还缺弯针座那的松底线装置,没点经验也装不上。国产的这套用不住。小日本的好用,但很贵。

点评

师傅知道哪家有卖吗?多少钱?谢谢!  详情 回复 发表于 2014-8-26 09:26
回复 支持 反对

使用道具 举报

8#
 楼主| 发表于 2014-8-26 09:26:56 | 只看该作者
yyg 发表于 2014-8-25 22:18
嗯,图上这点东西还不够,压脚及板,还要有气缸和传感器,都得要,还缺弯针座那的松底线装置,没点经验也 ...

师傅知道哪家有卖吗?多少钱?谢谢!

点评

一般大的设备公司都能办这事,因为很多东西都不是易损件,一般都不会有现货。要什么得你自己亲自去定货。  详情 回复 发表于 2014-8-26 22:47
回复 支持 反对

使用道具 举报

9#
发表于 2014-8-26 10:48:56 手机论坛 | 只看该作者
我们这儿有个圆眼机厂,不生产了,仓库里有十几台,要啥零件去拆就行,价格绝对便宜,可惜是9820。

点评

李老板,还有整机吗?9820  详情 回复 发表于 2019-5-23 23:51
回复 支持 反对

使用道具 举报

10#
发表于 2014-8-26 22:47:10 | 只看该作者
YINNANSHIYONG 发表于 2014-8-26 09:26
师傅知道哪家有卖吗?多少钱?谢谢!

一般大的设备公司都能办这事,因为很多东西都不是易损件,一般都不会有现货。要什么得你自己亲自去定货。
回复 支持 反对

使用道具 举报

您需要登录后才可以回帖 登录 | 立即注册

本版积分规则

QQ|小黑屋|手机论坛|Archiver|缝纫客,工业缝纫机维修问答

GMT+8, 2026-1-24 06:12 , Processed in 0.125452 second(s), 10 queries , File On.

Powered by Discuz! X3.3

© 2001-2017 Comsenz Inc.

快速回复 返回顶部 返回列表