缝纫客维修问答
工业缝纫机维修,机修工问答
缝纫客APP
(安卓)

  找回密码
 立即注册
扫二维码加客服微信 缝纫客(缝纫客QQ群:754889794)
查看: 4396|回复: 6
打印 上一主题 下一主题

求:重机791锁眼机维修说明以及零件图

[复制链接]
跳转到指定楼层
楼主
发表于 2013-1-28 22:12:17 | 只看该作者 |只看大图 回帖奖励 |倒序浏览 |阅读模式
各位同行大家好。。我帮别人维修部冷门车,也就是祖奇的钮门车发现其与781的区别比较大,由于初次接触维修起来也困难些,现在解决完其它问题后还有两个地方不理想,下刀太重导致声音大,还有底剪已损坏需要更换,不知道坛里有没维修过或熟悉这款机型的兄弟提供下资料零件图或是底剪购买门路,刚才电话联系过祥兴针车行等回应,没零件编码不好订货。
回复

使用道具 举报

2#
发表于 2013-1-29 18:04:07 | 只看该作者
看看是不是这张

Flash2.pdf

208.4 KB, 下载次数: 222, 下载积分: 联盟金 -100

回复 支持 反对

使用道具 举报

3#
发表于 2013-1-29 18:05:27 | 只看该作者
看看是不是这张

Flash2a.pdf

43.8 KB, 下载次数: 8, 下载积分: 联盟金 -100

回复 支持 反对

使用道具 举报

4#
发表于 2013-1-29 18:31:18 | 只看该作者
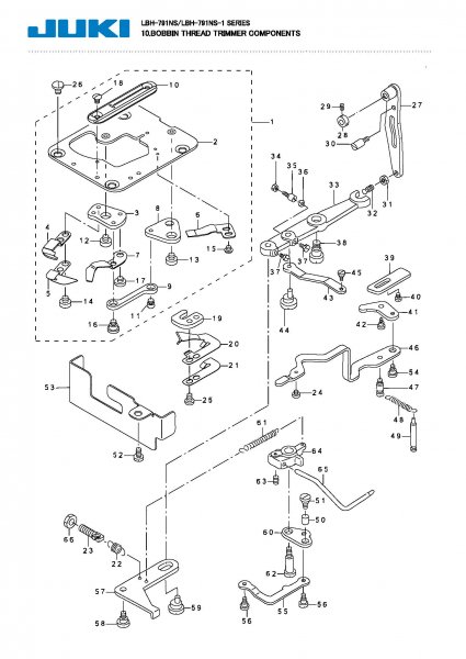
这是图片

Flash2.jpg (47.91 KB, 下载次数: 1880)

Flash2.jpg
回复 支持 反对

使用道具 举报

5#
发表于 2013-1-29 18:33:20 | 只看该作者
零件编号

Flash2a.jpg (42.36 KB, 下载次数: 1582)

Flash2a.jpg
回复 支持 反对

使用道具 举报

6#
发表于 2013-2-14 23:13:34 | 只看该作者
:
回复 支持 反对

使用道具 举报

7#
发表于 2013-3-8 16:32:01 | 只看该作者
感谢分享  可惜资料不全啊...
回复 支持 反对

使用道具 举报

您需要登录后才可以回帖 登录 | 立即注册

本版积分规则

QQ|小黑屋|手机论坛|Archiver|缝纫客,工业缝纫机维修问答

GMT+8, 2026-1-25 10:18 , Processed in 0.054911 second(s), 12 queries , File On.

Powered by Discuz! X3.3

© 2001-2017 Comsenz Inc.

快速回复 返回顶部 返回列表